Tanuj Hydraulics  > Components  > Custom machined barrel

Custom machined barrel

APPLICATION:

THIS SPECIFICATION HAS BEEN CREATED FOR SEMI-FINISHED PARTS, READY TO ASSEMBLE, FOR CYLINDER MANUFACTIRERS.

EQUIPMENT:

CNC MULTIPURPOSE MACHINES WITH AUTOMATIC LOADER FOR CUTTING AND MACHINING IN A NUMBER OF DIFFERENT WAYS AS PER BELOW GIVEN EXAMPLES.

MACHINING EXAMPLES:

A) De-burring the O.D. and chamfering I.D.

             

MACHINING EXAMPLES:

B & C ) De-burring the I.D., chamfering and machining of O.D.

             

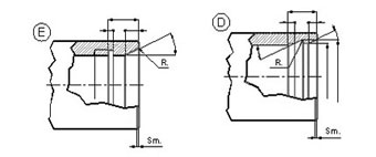
MACHINING EXAMPLES:

D & E ) De-burring the O.D., chamfering and machining of I.D.

As an alternative we also provide in cut Fix length . Note: threading not feasible.